(+84) 083 5084155
sinhthaicet@gmail.com

XÂY DỰNG MỚI TRƯỜNG MẦM NON BÁCH HỢP, QUẬN BÌNH TÂN

I. THÔNG TIN CHUNG VỀ DỰ ÁN

Quy mô dự án

Tên dự án: Xây dựng mới Trường Mầm non Bách Hơp, quận Bình Tân

Chủ dự án: Ban Quản lý dự án đầu tư xây dựng khu vực quận Bình Tân

Hiện trạng địa điểm:

Diện tích khu đất thực hiện dự án khoảng 7.522,3 m2 thuộc phường An Lạc, thành phố Hồ Chí Minh. Hiện tại, khu đất thực hiện dự án là khu dân cư hiện hữu, trong phạm vi chủ yếu là các nhà ở riêng lẻ và một phần diện tích đất trống đang được sử dụng làm bãi giữ xe; Theo Quyết định số 3213/QĐ-UBND ngày 26/06/2025 của UBND thành phố Hồ Chí Minh về Chủ trương đầu tư dự án Xây dựng mới trường mầm non Bách Hợp, quận Bình Tân, tổng mức đầu tư của dự án 703,572 tỷ đồng; Dự án thuộc nhóm B theo quy định tại Khoản 4 Điều 10 Luật đầu tư công số 58/2024/QH15 ngày 29/12/2024.

Địa điểm thực hiện dự án: Phường An Lạc, Tp. Hồ Chí Minh

Hiện trạng dự án

Quy mô công trình

+ Thu hồi đất, GPMB:

  1. Thu hồi đất, GPMB: Dự án sẽ tiến hành thu hồi 7.364,7 m2 đất để thực hiện dự án. Trong đó: 3.559,2 m2 (Đất ở); 1.083,9 m2 (Đất phi nông nghiệp), 2.675,4 m2 (Đất nông nghiệp); 46,2 m2 (Đất lộ giới).

+ Hạng mục công trình chính: khối công trình chính (03 tầng)

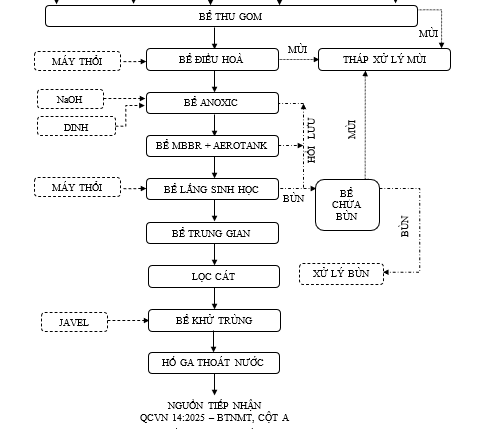
+ Hạng mục công trình BVMT: Xây dựng Hệ thống thoát nước mưa được thiết kế tách riêng với hệ thống thoát nước thải; Nước thải phát từ dự án được qua HTXLNT công suất 160 m3/ngày đêm đạt QCVN 14:2025/BTNMT (Cột A), trước khi thoát vào đường Kinh Dương Vương.

+ Hạng mục công trình phụ trợ: : nhà bảo vệ, nhà để xe, trạm điện, đất cây xanh, giao thông.

Nguồn tiếp nhận nước thải của dự án

Nước thải sau xử lý của dự án được đấu nối vào hệ thống thoát nước chung trên đường Kinh Dương Vương, thuộc phạm vi quản lý của Trung tâm Quản lý Hạ tầng kỹ thuật ; việc đấu nối được thực hiện đúng thẩm quyền theo Công văn số Công văn số 3043/TTQLHTKT-HTTN ngày 22/12/2025.

Từ hệ thống thoát nước chung, nước thải chảy về rạch Nước Lên (cách dự án khoảng 516m), thuộc lưu vực Trung tâm thành phố.

Theo Quyết định số 24/2025/QĐ-UBND, Rạch Nước Lên thuộc vùng tiếp nhận nước thải áp dụng Mức A; do đó, việc dự án đầu tư hệ thống xử lý nước thải công suất 160 m³/ngày.đêm, bảo đảm nước thải sau xử lý đạt Cột A – QCVN 14:2025/BTNMT trước khi xả vào hệ thống thoát nước chung là phù hợp với quy định phân vùng và yêu cầu bảo vệ môi trường hiện hành.

Phương thức hoạt động

Hoạt động theo hình thức bán trú, thời gian từ 07h00 – 17h00, từ thứ Hai đến thứ Sáu; không dạy thêm, học thêm và không cho thuê cơ sở vật chất ngoài mục đích giáo dục.

Quy mô 30 phòng học, phục vụ khoảng 750 trẻ mầm non và 96 cán bộ, giáo viên, nhân viên.

Các hoạt động nuôi dưỡng, chăm sóc và giáo dục trẻ thực hiện theo Chương trình Giáo dục mầm non của Bộ GD&ĐT, bảo đảm yêu cầu về dinh dưỡng, an toàn vệ sinh thực phẩm và chăm sóc sức khỏe.

Dự án đầu tư đồng bộ hệ thống phòng học, phòng chức năng, khu hành chính, bếp ăn bán trú, sân chơi và hạng mục phụ trợ, góp phần giảm tải cho các cơ sở hiện hữu và nâng cao chất lượng giáo dục mầm non trên địa bàn.

II. ĐÁNH GIÁ DỰ BÁO TÁC ĐỘNG MÔI TRƯỜNG CỦA DỰ ÁN ĐẦU TƯ VÀ ĐỀ XUẤT CÁC CÔNG TRÌNH, BIỆN PHÁP BẢO VỆ MÔI TRƯỜNG

GIAI ĐOẠN XÂY DỰNG

A. NGUỒN GÂY TÁC ĐỘNG LIÊN QUAN ĐẾN CHẤT THẢI

1. Môi trường không khí

NGUỒN Ô NHIỄM

+ Bụi Khí thải phát sinh từ hoạt động GPMB

+ Bụi, khí thải phát sinh từ các phương tiện vận chuyển và phương tiện thi công;

+ Bụi, khí thải phát sinh từ hoạt động thi công: san lấp mặt bằng, hệ thống nước cấp, hệ thống thoát nước thải, …….

BIỆN PHÁP GIẢM THIỂU

+ Lập kế hoạch, tiến độ, tổ chức thi công hợp lý, công trình được xây dựng nhanh, hoàn thành sớm;

+ Sử dụng hàng rào cảnh giới dọc đoạn tuyến dự án. Hàng rào chắc chắn, phản quang vào ban đêm và đặt cách mép đào tối thiểu 1m, khu vực thi công đảm bảo đủ ánh sáng vào ban đêm

+ Tưới nước 2 lần/ngày tại khu vực thi công và tuyến vận chuyển chính.

+ Che đậy các kho tập kết vật liệu, che phủ xe chở nguyên vật liệu

+ Giảm thời gian chạy không tải của máy móc.

+ Trang bị bảo hộ lao động cho công nhân trực tiếp thi công như ủng, khẩu trang…

2. Môi trường nước

NGUỒN Ô NHIỄM

+ Nước thải sinh hoạt của công nhân;

+ Nước mưa chảy tràn;

+ Nước thải từ hoạt động xây dựng;

+ Nước nhiễm dầu từ các phương tiện thi công.

BIỆN PHÁP GIẢM THIỂU

+ Nước mưa chảy tràn: xây dựng các mương/rãnh thoát nước tạm thời ngay trong khu vực dự án, thường xuyên khơi thông dòng chảy.

+ Nước thải sinh hoạt: Trang bị nhà vệ sinh di động cho công nhân. Định kỳ hợp đồng với đơn vị có chức năng thu gom, xử lý nước thải và bùn hầm cầu theo đúng quy định hiện hành.

+ Nước thải xây dựng: Xây dựng hố lắng sơ bộ nước thải tại khu vực thi công. Cặn lắng, dầu nhớt được thu gom và chuyển giao cho đơn vị có chức năng xử lý. Nước thải sau hố lắng được bơm ra nguồn tiếp nhận.

+ Bảo trì các trang thiết bị, máy móc để hạn chế rò rỉ dầu mỡ,…


3. Chất thải rắn

NGUỒN Ô NHIỄM

+ CTR sinh hoạt phát sinh từ hoạt động của công nhân.

+ CTR xây dựng phát sinh trong giai đoạn thi công

+ Chất thải nguy hại phát sinh từ quá trình vệ sinh, bảo dưỡng máy móc

BIỆN PHÁP GIẢM THIỂU

+ Trang bị tối thiểu thùng rác thu gom, lưu chứa chất thải rắn sinh hoạt;

+ Ký kết hợp đồng với các đơn vị chức năng thu gom, vận chuyển và xử lý chất thải rắn phát sinh

+ Thực hiện tốt việc phân loại chất thải rắn sinh hoạt với chất thải rắn xây dựng. Những loại chất thải rắn nào có thể tái sử dụng, đặc biệt là đối với các chất thải rắn xây dựng có thể tận dụng cho mục đích san lấp mặt bằng phải sử dụng triệt để.

+ Phân loại CTNH, không để lẫn CTNH khác loại với nhau hoặc với chất thải khác.

B. NGUỒN GÂY TÁC ĐỘNG KHÔNG LIÊN QUAN ĐẾN CHẤT THẢI

1. Tiếng ồn, độ rung

NGUỒN Ô NHIỄM

+ Tiếng ồn và độ rung từ các phương tiện vận chuyển và thi công

BIỆN PHÁP GIẢM THIỂU

+ Lập kế hoạch thi công hợp lý

+ Áp dụng các biện pháp thi công tiên tiến.

+ Phương tiện vận chuyển hạn chế hoạt động từ 21h tối đến 6h sáng

+ Trang bị dụng cụ bảo hộ lao động cho công nhân.

2. Tình hình an ninh trật tự

NGUỒN Ô NHIỄM

+ Gia tăng tệ nạn xã hội

BIỆN PHÁP GIẢM THIỂU

+ Tuyên truyền ý thức cho công nhân

+ Khai báo số lượng công nhân, tuyển dụng công nhân tại địa phương

+ Niêm yết và thực hiện nội quy công trường trong suốt giai đoạn xây dựng

3. Các rủi ro, sự cố trong quá trình thi công

NGUỒN Ô NHIỄM

+ Nguy cơ tai nạn tăng

+ Rủi ro do cháy nổ

+ Rủi ro sụt lún và sạt lở hố móng

BIỆN PHÁP GIẢM THIỂU

+ Xây dựng và ban hành các nội quy làm việc tại công trường, bao gồm nội quy ra, vào làm việc tại công trường; nội quy về trang phục bảo hộ lao động; nội quy sử dụng máy móc, thiết bị; nội quy về an toàn điện; an toàn giao thông; an toàn cháy nổ;…

+ Các loại dung môi và nhiên liệu dễ cháy sẽ được lưu trữ tại các kho cách ly riêng biệt, tránh xa các nguồn có khả năng phát lửa và tia lửa điện;

+ Đảm bảo lưu trữ và sử dụng an toàn các hóa chất, đúng quy định về vị trí và điều kiện lưu trữ.

GIAI ĐOẠN VẬN HÀNH

Nguồn phát sinh nước thải và biện pháp giảm thiểu

Các nguồn nước thải thoát qua hệ thống thoát nước mưa bao gồm các nguồn sau:

+ Nguồn số 01: Nước mưa phát sinh từ quá trình chảy tràn bề mặt;

+ Nguồn số 02: Nước mưa trên mái

Nước thải phát sinh từ các nguồn sau:

Nguồn số 01: Nước thải sinh hoạt phát sinh từ nhà vệ sinh (từ chậu xí, âu tiểu) của các tầng thuộc khối công trình chính.

Nguồn số 02: Nước thải sinh hoạt phát sinh từ bồn rửa, nước thoát sàn của các tầng thuộc khối công trình chính.

Nguồn số 03: Nước thải phát sinh từ bồn rửa các phòng thí nghiệm của khối công trình chính.

Nguồn số 04: Nước thải phát sinh từ nhà bếp của nhà đa năng, bếp ăn.

Nguồn số 05: Nước thải sinh hoạt phát sinh từ các nhà vệ sinh (từ chậu xí, âu tiểu) của các tầng thuộc nhà đa năng, bếp ăn.

Nguồn số 06: Nước thải sinh hoạt phát sinh từ bồn rửa, nước thoát sàn của các tầng thuộc nhà đa năng, bếp ăn.

Nguồn số 07: Nước thải phát sinh từ hoạt động vệ sinh thùng rác, vệ sinh khu chứa rác.

A. NGUỒN GÂY TÁC ĐỘNG LIÊN QUAN ĐẾN CHẤT THẢI

1. Chất thải rắn

NGUỒN Ô NHIỄM

Nguồn số 1: Chất thải rắn sinh hoạt phát sinh từ hoạt động ăn uống, sinh hoạt của cán bộ công nhân viên và học sinh, hoạt động chế biến thức ăn tại bếp ăn;

Nguồn số 2: Chất thải rắn cồng kềnh phát sinh từ hoạt động cắt tỉa cành cây (cành cây khô, gãy,..) và hoạt động loại bỏ vật dụng có kích thước lớn bị hư hỏng (bàn, tủ, ghế,…).

Nguồn số 3: Bùn thải từ hệ thống XLNT, bùn từ bể tự hoại

Nguồn số 4: Dầu mỡ phát sinh từ bể tách mỡ

Nguồn số 5: Chất thải y tế phát sinh từ hoạt động của phòng y tế là chất thải không yêu cầu thu gom, xử lý đặc biệt để ngăn ngừa lây nhiễm.

Nguồn số 6: Chất thải nguy hại phát sinh trong thành phần chất thải rắn sinh hoạt.

BIỆN PHÁP GIẢM THIỂU

Thu gom phân loại và bàn giao cho đơn vị có chức năng thu gom và xử lý theo quy định

Sơ đồ thu gom chất thải trong quá trình vận hành

Nguồn phát sinh khí thải và biện pháp giảm thiểu

Nguồn phát sinh khí thải và biện pháp giảm thiểu

III. Nội dung đề nghị cấp GPMT

Nội dung đề nghị cấp phép đối với nước thải:

+ Nguồn phát sinh nước thải

Nguồn số 01: Nước thải sinh hoạt phát sinh từ nhà vệ sinh (từ chậu xí, âu tiểu) của các tầng thuộc khối công trình chính.

Nguồn số 02: Nước thải sinh hoạt phát sinh từ bồn rửa, nước thoát sàn của các tầng thuộc khối công trình chính.

Nguồn số 03: Nước thải phát sinh từ nhà bếp của khối công trình chính.

Nguồn số 04: Nước thải phát sinh từ phòng giặt của khối công trình chính

Nguồn số 05: Nước thải phát sinh từ hoạt động vệ sinh thùng rác, vệ sinh khu chứa rác.

Nội dung đề nghị cấp phép đối với nước thải:

+ Nguồn tiếp nhận nước thải

Hệ thống thoát nước chung trên đường Kinh Dương Vương, sau đó chảy về rạch Nước Lên

+ Vị trí xả thải

Hố ga đấu nối: toạ độ: X = 1.186.643; Y = 593.717.

Lưu lượng xả nước thải tối đa: lưu lượng xả thải lớn nhất là 6,7 m3/giờ, tương đương 160 m3/ngày đêm

+ Phương thức xả thải: Cưỡng bức (dùng bơm)

+ Chế độ xả: liên tục (24/24 giờ)

Nguồn phát sinh khí thải

Nguồn số 01: Khí thải, mùi phát sinh từ ống thoát khí tháp xử lý mùi của hệ thống xử lý nước thải.

Vị trí xả thải: Trường Mầm non Bách Hợp tại phường An Lạc, Thành phố Hồ Chí Minh

01 dòng khí thải từ tháp xử lý mùi của hệ thống xử lý nước thải, tọa độ vị trí xả thải: X= 1186656; Y= 593678

Lưu lượng xả khí thải lớn nhất: 1.090 m3/giờ.

Phương thức xả thải: Khí thải, mùi xả ra môi trường qua ống uPVC đường kính 60 mm, cao 2,8m (so với mặt đất), xả liên tục (24h/24h)

Chất lượng khí thải trước khi xả thải: Chất lượng khí thải trước khi xả vào môi trường phải bảo đảm đáp ứng yêu cầu về bảo vệ môi trường và đạt Quy chuẩn kỹ thuật quốc gia về khí thải công nghiệp - QCVN 19:2024/BTNMT, cột A, cụ thể như sau:

Nguồn phát sinh tiếng ồn, độ rung:

  1. Nguồn số 01: Tiếng ồn, độ rung từ HTXLNT công suất 160 m3/ngày.đêm

Vị trí phát sinh tiếng ồn, độ rung

  1. Nguồn số 01: Tọa độ: Tọa độ: X = 1186653; Y = 593675;
  2. (Hệ tọa độ VN2000, kinh tuyến trục 105045’, múi chiếu 30).

Nội dung đề nghị cấp phép đối với tiếng ồn, độ rung

+ Giá trị giới hạn đối với tiếng ồn, độ rung

Tiếng ồn

Tiếng ồn phải đảm bảo đáp ứng yêu cầu về bảo vệ môi trường và QCVN 26:2025/BNNMT - Quy chuẩn kỹ thuật Quốc gia về tiếng ồn, cụ thể như sau:

Bảng: Giá trị giới hạn với tiếng ồn

Độ rung

Độ rung phải đảm bảo đáp ứng yêu cầu về bảo vệ môi trường và QCVN 27:2025/BNNMT - Quy chuẩn kỹ thuật Quốc gia về độ rung, cụ thể như sau:

Bảng: Giá trị giới hạn đối với độ rung

+ Quản lý chất thải nguy hại phát sinh thường xuyên

+ Quản lý chất thải thông thường phát sinh

Khối lượng chất thải rắn sinh hoạt phát sinh: 324,2 (tấn/năm)

Khối lượng, chủng loại chất thải rắn cồng kềnh: thành phần chủ yếu như bàn, ghế, tủ...thải bỏ; khối lượng phát sinh khoảng 100 kg/năm

IV. Kế hoạch vận hành thử nghiệm, chương trình quan trắc

Thời gian dự kiến vận hành thử nghiệm

+ Theo khoản 13 điều 1 Nghị định số 05/2025/NĐ-CP ngày 06/01/2025 sửa đổi, bổ sung một số điều của Nghị định số 08/2022/NĐ-CP ngày 10/01/2022 của Chính phủ quy định chi tiết một số điều của Luật Bảo vệ môi trường: Bể tự hoại, bể tách mỡ, tháp hấp phụ không thuộc đối tượng VHTN.

+ Theo khoản 13 điều 1 Nghị định số 05/2025/NĐ-CP ngày 06/01/2025 sửa đổi, bổ sung một số điều của Nghị định số 08/2022/NĐ-CP ngày 10/01/2022 của Chính phủ quy định chi tiết một số điều của Luật Bảo vệ môi trường: Thời gian VHTN do chủ đầu tư quyết định và tự chịu trách nhiệm.

+Công suất dự kiến đạt được của hệ thống xử lý nước thải của Dự án tại thời điểm kết thúc giai đoạn vận hành thử nghiệm: đạt 20%

+ Kế hoạch vận hành thử nghiệm các công trình bảo vệ môi trường của dự án trong thời gian 1 tháng ngày cho hệ thống XLNT tập trung công suất 160 m3/ngày.đêm

Danh mục chi tiết kế hoạch vận hành thử nghiệm các công trình xử lý chất thải đã hoàn thành

Thời gian bắt đầu vận hành thử nghiệm: Sau khi hoàn thành các công trình xử lý chất thải được cấp phép theo giấy phép môi trường (Chủ dự án đầu tư sẽ gửi thông báo kế hoạch vận hành thử nghiệm công trình, hạng mục công trình xử lý chất thải của dự án cho cơ quan cấp giấy phép môi trường trước ít nhất là 10 ngày kể từ ngày bắt đầu vận hành thử nghiệm công trình xử lý chất thải để theo dõi, giám sát)

Thời gian kết thúc vận hành thử nghiệm: 02 tháng kể từ thời điểm bắt đầu vận hành thử nghiệm (Chủ dự án đầu tư sẽ thuê tổ chức có đủ năng lực đánh giá hiệu quả xử lý của các công trình xử lý chất thải của dự án; tổng hợp, đánh giá số liệu quan trắc chất thải, phân định chất thải và lập báo cáo kết quả vận hành thử nghiệm công trình xử lý chất thải, gửi cơ quan cấp giấy phép môi trường trước thời điểm kết thúc vận hành thử nghiệm 20 ngày).

Kế hoạch quan trắc chất thải, đánh giá hiệu quả xử lý các công trình thiết bị xử lý chất thải

+ Chương trình quan trắc chất thải (tự động, liên tục và định kỳ) theo quy định của pháp luật

Chương trình quan trắc môi trường định kỳ

Quan trắc nước thải: Dự án không thuộc đối tượng phải quan trắc nước thải định kỳ (theo quy định tại Điều 97 Nghị định số 08/2022/NĐ-CP, sửa đổi, bổ sung tại Nghị định số 05/2025/NĐ-CP của Chính phủ)

Quan trắc bụi, khí thải công nghiệp: Dự án không thuộc đối tượng phải quan trắc khí thải định kỳ (theo quy định tại Điều 98 Nghị định số 08/2022/NĐ-CP, sửa đổi, bổ sung tại Nghị định số 05/2025/NĐ-CP của Chính phủ)

Chương trình quan trắc tự động, liên tục chất thải

Quan trắc nước thải: Dự án không thuộc đối tượng phải quan trắc nước thải tự động, liên tục (theo quy định tại Điều 97 Nghị định số 08/2022/NĐ-CP, sửa đổi, bổ sung tại Nghị định số 05/2025/NĐ-CP của Chính phủ)

Quan trắc bụi, khí thải công nghiệp: Dự án không thuộc đối tượng phải quan trắc khí thải tự động, liên tục (theo quy định tại Điều 98 Nghị định số 08/2022/NĐ-CP, sửa đổi, bổ sung tại Nghị định số 05/2025/NĐ-CP của Chính phủ)

Hoạt động quan trắc môi trường định kỳ, quan trắc môi trường tự động, liên tục khác theo quy định của pháp luật có liên quan hoặc theo đề xuất của chủ dự án.

Dự án không thuộc đối tượng phải quan trắc định kỳ, liên tục nên không bao gồm nội dung tại Mục này.

V. CAM KẾT CỦA CHỦ DỰ ÁN ĐẦU TƯ

Cam kết trong giai đoạn thi công xây dựng

+ Chất lượng môi trường không khí xung quanh đạt QCVN 05:2023/BTNMT;

+ Tiếng ồn đạt QCVN 26:2025/BNNMT – Quy chuẩn kỹ thuật quốc gia về tiếng ồn.

+ Nước thải xây dựng, Nước thải sinh hoạt, đảm bảo xử lý như đã đề cập tại chương 4. Đảm bảo không xả nước thải chưa qua xử lý ra nguồn tiếp nhận.

+ Chất thải rắn thực hiện đúng theo Nghị định 08/2022/NĐ-CP về quy định chi tiết một số điều của Luật bảo vệ môi trường và Thông tư 02/2022/TT-BTNMT – Quy định chi tiết một số điều của Luật bảo vệ môi trường.

+ Cam kết vận chuyển, quản lý đất đào đúng quy định.

+ Đối với chất thải nguy hại: Chủ đầu tư sẽ tiến hành phân loại, thu gom, lưu trữ và xử lý theo đúng Chất thải nguy hại được thu gom, quản lý,...theo Thông tư 02/2022/TT-BTNMT – Quy định chi tiết một số điều của Luật bảo vệ môi trường và xử lý theo Nghị định 08/2022/NĐ-CP về quy định chi tiết một số điều của Luật bảo vệ môi trường.

+ Cam kết bồi thường thiệt hại, khắc phục sự cố trường hợp dự án gây ảnh hưởng đến môi trường xung quanh, cộng đồng dân cư trong khu vực

Cam kết trong giai đoạn vận hành

+ Tiếng ồn đạt QCVN 26:2025/BNNMT – Quy chuẩn kỹ thuật quốc gia về tiếng ồn.

+ Độ rung: đảm bảo độ rung sinh ra từ quá trình hoạt động của dự án sẽ đạt Quy chuẩn Giới hạn tối đa cho phép độ rung khu vực công cộng và dân cư theo QCVN 27:2025/ BNNMT

+ Nước thải: thu gom toàn bộ nước thải phát sinh dẫn về hệ thống xử lý nước thải cục bộ tại dự án xử lý và đảm bảo đạt Quy chuẩn áp dụng: QCVN 14:2025/BTNMT (cột A) trước khi đưa vào hệ thống thoát nước chung của khu vực

+ Chất thải rắn sinh hoạt thực hiện theo quy định hiện hành

+ Đối với chất thải: Chủ đầu tư sẽ tiến hành phân loại, thu gom, lưu trữ và xử lý chất thải theo quy định hiện hành.


XÂY DỰNG MỚI TRƯỜNG MẦM NON BÁCH HỢP, QUẬN BÌNH TÂN | Sinh Thái Corp